Splash Shields for 1999 Volkswagen Passat
Vehicle
1999 Volkswagen Passat
Change Vehicle
- Bumper & Components - Front
- Bumper & Components - Rear
- Center Console
- Center Pillar
- Cluster & Switches
- Cowl
- Door
- Door & Components
- Ducts
- Exterior Trim - Front Door
- Exterior Trim - Lift Gate
- Exterior Trim - Pillars
- Exterior Trim - Rear Door
- Exterior Trim - Roof
- Exterior Trim - Trunk
- Fender & Components
- Floor & Rails
- Front Console
- Front Door
- Front Seat Components
- Gate & Hardware
- Glass - Front Door
- Glass - Rear Door
- Glass - Windshield
- Glass & Hardware
- Glass & Hardware - Back
- Glove Box
- Hinge Pillar
- Hood & Components
- Inner Structure
- Instrument Panel
- Interior Trim
- Interior Trim - Front Door
- Interior Trim - Pillars
- Interior Trim - Quarter Panels
- Interior Trim - Rear Body
- Interior Trim - Rear Door
- Interior Trim - Roof
- Interior Trim - Trunk
- Labels
- Lid & Components
- Liftgate
- Lock & Hardware
- Luggage Carrier
- Master Cylinder - Components On Dash Panel
- Outside Mirrors
- Quarter Panel & Components
- Radiator Support
- Rear Body
- Rear Door
- Rear Floor & Rails
- Rear Seat Components
- Reveal Moldings
- Rocker Panel
- Roof & Components
- Seat Belt
- Seat Components
- Sound System
- Splash Shields
- Structural Components & Rails
- Sunroof
- Trunk
- Trunk Lid & Compartment
- Uniside
- Wiper & Washer Components
- ABS Components
- Air Bag Components
- Alternator
- Alternator/Generator & Related Components
- Antenna & Radio
- Anti-Theft System
- Battery
- Bulbs - Chassis
- Cruise Control System
- Door
- Front Door
- Front Seat Belts
- Fuse & Relay
- Glass, Windows & Related Components
- Headlamp Components
- High Mounted Stop Lamp
- Horn
- Ignition Lock
- Ignition System
- Instruments & Gauges
- License Lamps
- Mirrors
- Powertrain Control
- Rear Door
- Rear Seat Belts
- Second Row Seat Belts
- Senders
- Sensors
- Side Marker & Signal Lamps
- Signal Lamps
- Starter
- Sunroof
- Switches
- Switches, Solenoids & Actuators
- Tail Lamps
- Washer Components
- Window Defroster
- Wipers
- Bumper & Components - Front
- Bumper & Components - Rear
- Center Console
- Center Pillar
- Cluster & Switches
- Cowl
- Door
- Door & Components
- Ducts
- Exterior Trim - Front Door
- Exterior Trim - Lift Gate
- Exterior Trim - Pillars
- Exterior Trim - Rear Door
- Exterior Trim - Roof
- Exterior Trim - Trunk
- Fender & Components
- Floor & Rails
- Front Console
- Front Door
- Front Seat Components
- Gate & Hardware
- Glass - Front Door
- Glass - Rear Door
- Glass - Windshield
- Glass & Hardware
- Glass & Hardware - Back
- Glove Box
- Hinge Pillar
- Hood & Components
- Inner Structure
- Instrument Panel
- Interior Trim
- Interior Trim - Front Door
- Interior Trim - Pillars
- Interior Trim - Quarter Panels
- Interior Trim - Rear Body
- Interior Trim - Rear Door
- Interior Trim - Roof
- Interior Trim - Trunk
- Labels
- Lid & Components
- Liftgate
- Lock & Hardware
- Luggage Carrier
- Master Cylinder - Components On Dash Panel
- Outside Mirrors
- Quarter Panel & Components
- Radiator Support
- Rear Body
- Rear Door
- Rear Floor & Rails
- Rear Seat Components
- Reveal Moldings
- Rocker Panel
- Roof & Components
- Seat Belt
- Seat Components
- Sound System
- Splash Shields
- Structural Components & Rails
- Sunroof
- Trunk
- Trunk Lid & Compartment
- Uniside
- Wiper & Washer Components
- ABS Components
- Air Bag Components
- Alternator
- Alternator/Generator & Related Components
- Antenna & Radio
- Anti-Theft System
- Battery
- Bulbs - Chassis
- Cruise Control System
- Door
- Front Door
- Front Seat Belts
- Fuse & Relay
- Glass, Windows & Related Components
- Headlamp Components
- High Mounted Stop Lamp
- Horn
- Ignition Lock
- Ignition System
- Instruments & Gauges
- License Lamps
- Mirrors
- Powertrain Control
- Rear Door
- Rear Seat Belts
- Second Row Seat Belts
- Senders
- Sensors
- Side Marker & Signal Lamps
- Signal Lamps
- Starter
- Sunroof
- Switches
- Switches, Solenoids & Actuators
- Tail Lamps
- Washer Components
- Window Defroster
- Wipers
Browse Categories
Select category
- Bumper & Components - Front
- Bumper & Components - Rear
- Center Console
- Center Pillar
- Cluster & Switches
- Cowl
- Door
- Door & Components
- Ducts
- Exterior Trim - Front Door
- Exterior Trim - Lift Gate
- Exterior Trim - Pillars
- Exterior Trim - Rear Door
- Exterior Trim - Roof
- Exterior Trim - Trunk
- Fender & Components
- Floor & Rails
- Front Console
- Front Door
- Front Seat Components
- Gate & Hardware
- Glass - Front Door
- Glass - Rear Door
- Glass - Windshield
- Glass & Hardware
- Glass & Hardware - Back
- Glove Box
- Hinge Pillar
- Hood & Components
- Inner Structure
- Instrument Panel
- Interior Trim
- Interior Trim - Front Door
- Interior Trim - Pillars
- Interior Trim - Quarter Panels
- Interior Trim - Rear Body
- Interior Trim - Rear Door
- Interior Trim - Roof
- Interior Trim - Trunk
- Labels
- Lid & Components
- Liftgate
- Lock & Hardware
- Luggage Carrier
- Master Cylinder - Components On Dash Panel
- Outside Mirrors
- Quarter Panel & Components
- Radiator Support
- Rear Body
- Rear Door
- Rear Floor & Rails
- Rear Seat Components
- Reveal Moldings
- Rocker Panel
- Roof & Components
- Seat Belt
- Seat Components
- Sound System
- Splash Shields
- Structural Components & Rails
- Sunroof
- Trunk
- Trunk Lid & Compartment
- Uniside
- Wiper & Washer Components
- ABS Components
- Air Bag Components
- Alternator
- Alternator/Generator & Related Components
- Antenna & Radio
- Anti-Theft System
- Battery
- Bulbs - Chassis
- Cruise Control System
- Door
- Front Door
- Front Seat Belts
- Fuse & Relay
- Glass, Windows & Related Components
- Headlamp Components
- High Mounted Stop Lamp
- Horn
- Ignition Lock
- Ignition System
- Instruments & Gauges
- License Lamps
- Mirrors
- Powertrain Control
- Rear Door
- Rear Seat Belts
- Second Row Seat Belts
- Senders
- Sensors
- Side Marker & Signal Lamps
- Signal Lamps
- Starter
- Sunroof
- Switches
- Switches, Solenoids & Actuators
- Tail Lamps
- Washer Components
- Window Defroster
- Wipers
- Bumper & Components - Front
- Bumper & Components - Rear
- Center Console
- Center Pillar
- Cluster & Switches
- Cowl
- Door
- Door & Components
- Ducts
- Exterior Trim - Front Door
- Exterior Trim - Lift Gate
- Exterior Trim - Pillars
- Exterior Trim - Rear Door
- Exterior Trim - Roof
- Exterior Trim - Trunk
- Fender & Components
- Floor & Rails
- Front Console
- Front Door
- Front Seat Components
- Gate & Hardware
- Glass - Front Door
- Glass - Rear Door
- Glass - Windshield
- Glass & Hardware
- Glass & Hardware - Back
- Glove Box
- Hinge Pillar
- Hood & Components
- Inner Structure
- Instrument Panel
- Interior Trim
- Interior Trim - Front Door
- Interior Trim - Pillars
- Interior Trim - Quarter Panels
- Interior Trim - Rear Body
- Interior Trim - Rear Door
- Interior Trim - Roof
- Interior Trim - Trunk
- Labels
- Lid & Components
- Liftgate
- Lock & Hardware
- Luggage Carrier
- Master Cylinder - Components On Dash Panel
- Outside Mirrors
- Quarter Panel & Components
- Radiator Support
- Rear Body
- Rear Door
- Rear Floor & Rails
- Rear Seat Components
- Reveal Moldings
- Rocker Panel
- Roof & Components
- Seat Belt
- Seat Components
- Sound System
- Splash Shields
- Structural Components & Rails
- Sunroof
- Trunk
- Trunk Lid & Compartment
- Uniside
- Wiper & Washer Components
- ABS Components
- Air Bag Components
- Alternator
- Alternator/Generator & Related Components
- Antenna & Radio
- Anti-Theft System
- Battery
- Bulbs - Chassis
- Cruise Control System
- Door
- Front Door
- Front Seat Belts
- Fuse & Relay
- Glass, Windows & Related Components
- Headlamp Components
- High Mounted Stop Lamp
- Horn
- Ignition Lock
- Ignition System
- Instruments & Gauges
- License Lamps
- Mirrors
- Powertrain Control
- Rear Door
- Rear Seat Belts
- Second Row Seat Belts
- Senders
- Sensors
- Side Marker & Signal Lamps
- Signal Lamps
- Starter
- Sunroof
- Switches
- Switches, Solenoids & Actuators
- Tail Lamps
- Washer Components
- Window Defroster
- Wipers
No.
Part # / Description / Price
Price
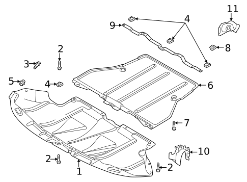
2
Front Deflector Pin
Volkswagen
Volkswagen Description: 1.8L, front & rear. 2.0L, front & rear. 4.0L, front & rear.
MSRP $12.36
$7.42
MSRP $12.36
$7.42
3
MSRP $11.67
$7.01
4
Front Deflector Nut
Volkswagen
Volkswagen Description: 1.8L, front & rear. 2.0L, front & rear. 4.0L, front & rear.
MSRP $9.62
$5.77
MSRP $9.62
$5.77
5
MSRP $4.41
$2.64
9
10
10
11
Shield
Volkswagen
Volkswagen Positions: Left
Description: 2.8L, engine. Side. 1.8L, engine. 2.0L, engine. 4.0L.
11
Shield
Volkswagen
Volkswagen Positions: Right
Description: 2.8L, engine. Side. 1.8L, engine. 2.0L, engine. 4.0L.