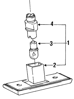
License Lamp - Volkswagen (165-943-021-A)
OEM VW License Lamp for 1985-1992 Volkswagen Golf
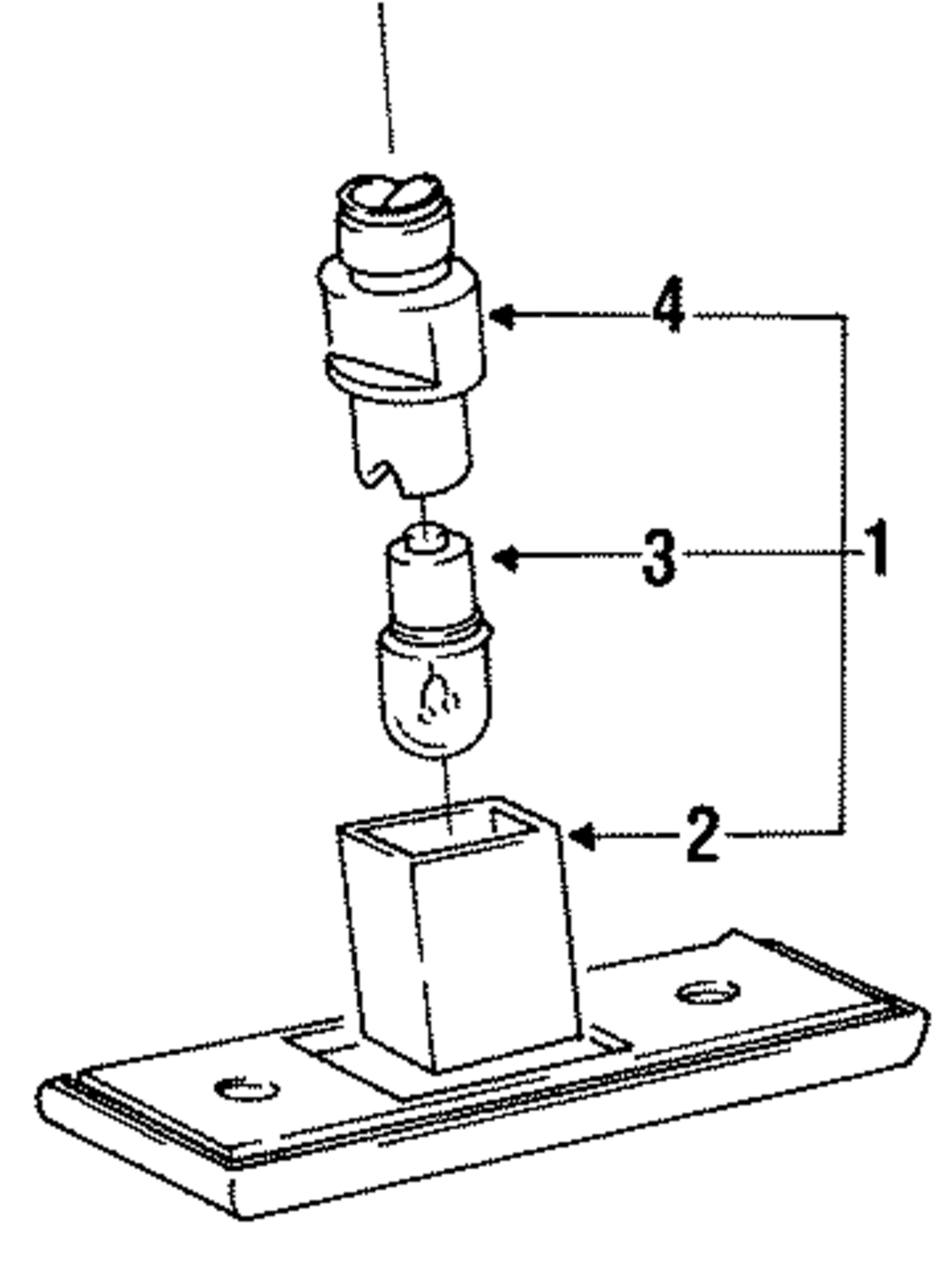
License Lamp - Volkswagen (165-943-021-A)
OEM VW License Lamp for 1985-1992 Volkswagen Golf
Also Purchased
Vehicle Fitment
| Year | Make | Model | Body & Trim | Engine & Transmission |
|---|
Volkswagen Parts Plus

VolkswagenPartsPlus.com offers wholesale pricing, fast shipping, and no-hassle returns on a huge selection of genuine VW parts and accessories.
- We only sell genuine OEM Volkswagen parts and accessories, which come with the Volkswagen factory warranty
- If you provide a VIN, we can guarantee fitment
- We ship most orders same day, thanks to our huge inventory
We take customer satisfaction very seriously - if you have a problem, give us a call.